******PA视讯(中国区)官网 - PlayAce

PA视讯行政管理权力运行工作流程图

2021-01-22 15:48 作者:本站编辑 审核: 浏览:

-

-

-

-

PA视讯干部选拔任命工作流程图

PA视讯公章使用工作流程图

PA视讯盖章流程图

PA视讯固定资产购置流程图



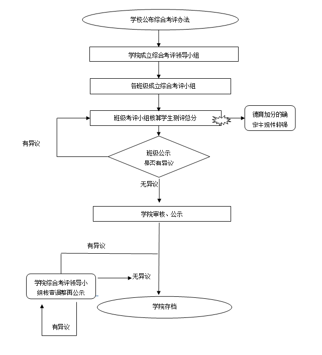
PA视讯学生综合考评流程图